Google запланировала выпустить первый смартфон Pixel с гибким экраном - Android

Google запланировала выпустить первый смартфон Pixel с гибким экраном - Android

В сети появились патенты Google, благодаря которым выяснилось, что компания запланировала выпустить первый смартфон Pixel с гибким экраном.

В сети появились патенты Google, благодаря которым выяснилось, что компания запланировала выпустить первый смартфон Pixel с гибким экраном.

Согласно опубликованным изданием windowsunited.de данным, американская компания подала сразу два патента во Всемирную организацию интеллектуальной собственности в 2020 году- 2021/011949 и 2021/0018961.

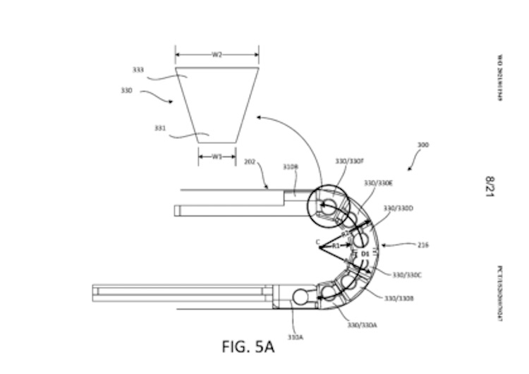
В одном из патентов описывается смартфон, напоминающий по строению Huawei Mate XS. По задумке, устройство оснастят цилиндрическим шарниром по центру, а дисплей будет складываться наружу.

Что касается второго патента Google, в нем описывается смартфон, напоминающий Samsung Galaxy Fold. Так, в нем производитель задумал разместить шарнир с множеством сегментов в центральной части, благодаря чему складывать аппарат можно будет с небольшим радиусом угла.

03/02/2021 07:55 AM